Навигация

Популярные статьи
  • Туры для школьников — как они могут разнообразить жизнь современного школьника, лучшие варианты и решения, предложения от «Сант Валентин»

  • Авторские и переводные статьи

    Пресс-релизы

    Регистрация на сайте


    Опрос
    Какие телеканалы вы смотрите чаще?







    oogle Glass можно будет разблокировать, закатив глаза


    9 августа 2012 | Новости / Наука и технологии | Добавил: Елена Ленова
    Предполагается, что очки дополненной реальности Google Glass через пару лет откроют новую категорию мобильных устройств с новыми возможностями и новыми принципами управления. Велика вероятность и того, что многие из этих принципов управления будут позаимствованы у теперешних смартфонов и планшетных компьютеров, это коснется и функций разблокировки, только со спецификой очков. А пока Google оформляет соответствующие патенты.

    oogle Glass можно будет разблокировать, закатив глаза


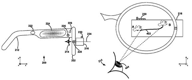
    На сей раз Google получила патент на функцию разблокировки экрана, которая использует данные с модуля, отслеживающего положение зрачков пользователя. Это значит, что для разблокировки устройства нужно будет закатить глаза. Документ предусматривает и более сложные, а значит, и более надежные схемы, использованные прежде в Android-смартфонах. Так, пользователь может установить определенную последовательность движений глаз, которая приводит к нужному результату. Например, Google Glass разблокируются только после того, как пользователь посмотрит влево, потом вправо и вверх. В противном случае устройство останется в неактивном режиме. В патенте говорится об абстрактной носимой компьютерной системе, но речь, очевидно, идет именно о Google Glass. Во всяком случае, альтернатив у интернет-гиганта пока нет.

    Источник: 3dnews.ru
    Комментарии (0) | Распечатать | | Добавить в закладки:  

    Другие новости по теме:


     



    Телепрограммы для газет и сайтов.
    25-ть лет стабильной работы: телепрограммы, анонсы, сканворды, кроссворды, головоломки, гороскопы, подборки новостей и другие дополнительные материалы. Качественная работа с 1997 года. Разумная цена.

    Форум

    Фоторепортажи

    Авторская музыка

    Погода

    Афиша

    Кастинги и контакты ТВ шоу

    On-line TV

    Партнеры

    Друзья

    Реклама

    Статистика
    Главная страница  |  Регистрация  |  Добавить новость Copyright © 2002-2012 Все о ТВ и телекоммуникациях. Все права защищены.