Навигация

Популярные статьи
  • Туры для школьников — как они могут разнообразить жизнь современного школьника, лучшие варианты и решения, предложения от «Сант Валентин»

  • Авторские и переводные статьи

    Пресс-релизы

    Регистрация на сайте


    Опрос
    Какие телеканалы вы смотрите чаще?







    Apple разрабатывает систему управления вроде Kinect


    10 декабря 2011 | Новости / IT-новости | Добавил: Елена Ленова
    Согласно новым патентным заявкам, поданным Apple, компания сейчас разрабатывает весьма интересное решение. Оно представляет собой комплекс для управления компьютером, схожий по функциональности с революционным контроллером Microsoft Kinect.

    Apple разрабатывает систему управления вроде Kinect


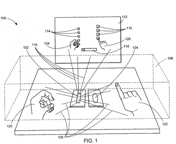
    Судя по патентной заявке, устройство будет называться «Трехмерная система визуализации и отображения» (Three-dimensional imaging and display system). Патент описывает систему, где функциональность устройств ввода полностью заменяется движениями в пространстве. Другими словами, пользователям больше не понадобятся клавиатура и мышь, а для управления и ввода текста достаточно будет выполнять определенные пассы руками.

    Apple разрабатывает систему управления вроде Kinect


    Кроме того, компания планирует совместить такие возможности с использованием 3D-дисплея, что позволит визуализировать в пространстве виртуальные элементы управления. Стоит сказать, что подобного решения пока не предлагала ни одна компания, и вряд ли сможет предложить раньше, чем Apple.

    Несмотря на все очевидные плюсы подобного решения, оно имеет и некоторые недостатки, во всяком случае, относительно продукции Apple. В первую очередь возникает вопрос, не будет ли система слишком громоздкой и неудобной для использования в ноутбуках компании, не говоря уже о смартфонах и планшетах. Впрочем, в планах компании оптимизировать систему таким образом, чтобы ее можно было применять и на мобильных устройствах.

    Источник: 3dnews.ru
    Комментарии (0) | Распечатать | | Добавить в закладки:  

    Другие новости по теме:


     



    Телепрограммы для газет и сайтов.
    25-ть лет стабильной работы: телепрограммы, анонсы, сканворды, кроссворды, головоломки, гороскопы, подборки новостей и другие дополнительные материалы. Качественная работа с 1997 года. Разумная цена.

    Форум

    Фоторепортажи

    Авторская музыка

    Погода

    Афиша

    Кастинги и контакты ТВ шоу

    On-line TV

    Партнеры

    Друзья

    Реклама

    Статистика
    Главная страница  |  Регистрация  |  Добавить новость Copyright © 2002-2012 Все о ТВ и телекоммуникациях. Все права защищены.